Thursday April 2026

হটলাইন

কনটেন্টটি শেষ হাল-নাগাদ করা হয়েছে: রবিবার, ২৭ জুন, ২০২১ এ ১০:৫২ PM

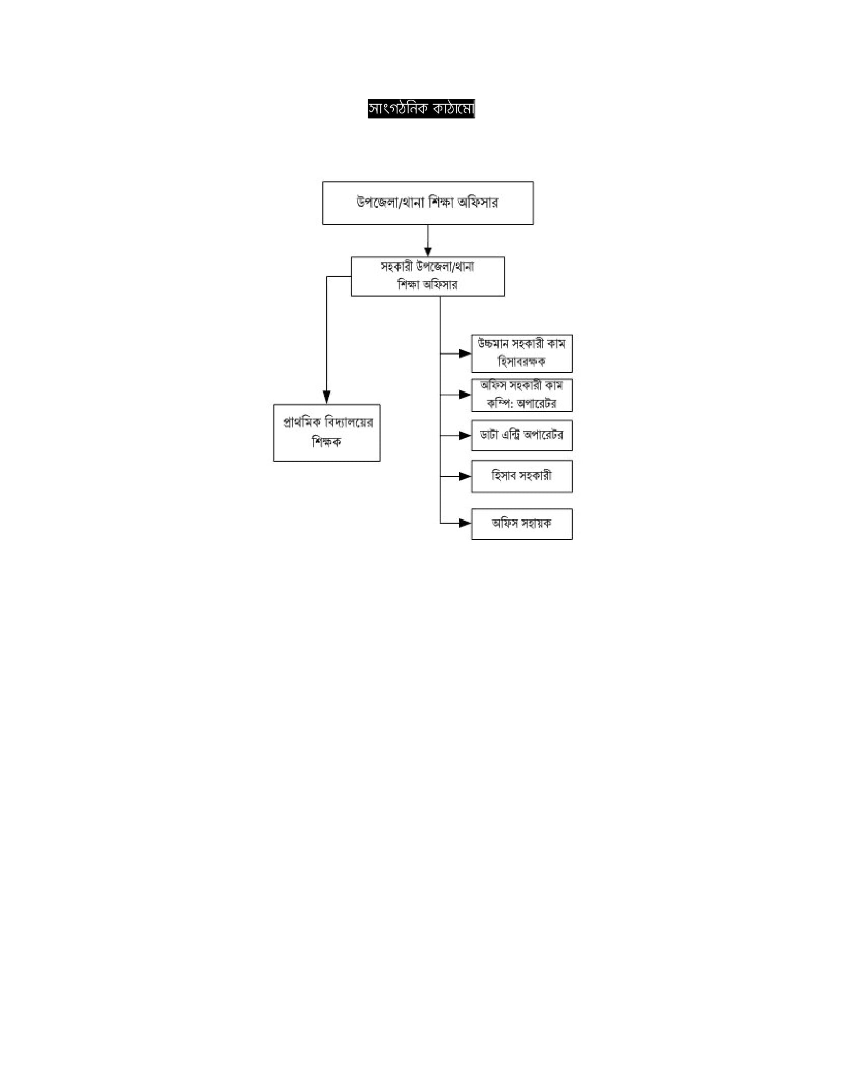
সাংগঠনিক কাঠামো

কন্টেন্ট: পাতা

ফাইল ১
ফাইল ২

ফাইল প্রিভিউ ওয়েব ব্রাউজারে সমর্থিত নয়

ফাইল ২

ডাউনলোড করুন

এক্সেসিবিলিটি

স্ক্রিন রিডার ডাউনলোড করুন